
原标题:深圳沪光明村镇银行18%股权遭拍卖,第二大股东佳兆业成失信被执行人,执行标的高达9.63亿元
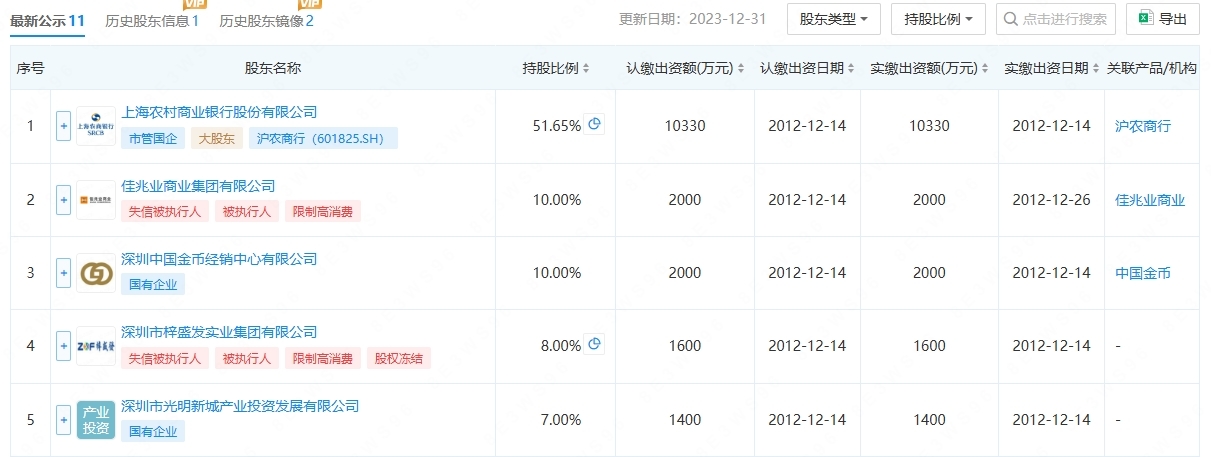
深圳光明沪农商村镇银行两笔股权合计3600万股上架阿里司法拍卖平台,共占其总股本的18%,持有人分别为其第二大股东佳兆业和第四大股东梓盛发实业,此次拍卖若能完成,上述两大股东将不再持有该行股份。据拍卖平台披露的信息来看,光明沪农商村镇银行主要股东深陷债务纠纷。
第四大股东梓盛发实业陷债务纠纷
日前,据阿里司法拍卖平台,深圳光明沪农商村镇银行1600万股股权将于4月24日公开拍卖,评估价为2870.82万元,折合约1.79元/股,起拍价为2296.66万元,折合每股价格为1.44元,较评估价打了八折。

拍卖平台显示,该股权由被执行人深圳市梓盛发实业集团有限公司(以下简称“梓盛发实业”)持有,共计1600万股,因涉及与中建六局建设发展有限公司(以下简称“中建六局”)的建设工程施工合同纠纷,被广东省深圳市龙岗区人民法院依法裁定拍卖,以清偿债务。

据龙岗区人民法院发布的(2024)粤0307执9921号执行裁定书显示,由于梓盛发实业未能履行生效法律文书确定的义务,中建六局向法院申请强制执行,请求责令梓盛发实业偿付工程款本金及逾期付款违约金等费用。法院依法受理并冻结了梓盛发实业持有的光明沪农商村镇银行1600万股股权,最终裁定拍卖该股权以清偿债务。公开资料显示,梓盛发实业为深圳光明沪农商村镇银行第四大股东,目前已成失信被执行人并被限制高消费。

在股权拍卖前夕,光明沪农商村镇银行特别向龙岗区人民法院致函,强调了农村中小银行机构股东资质的严格性。根据《中国银保监会农村中小银行机构行政许可事项实施办法》的相关规定,新股东需符合一系列资质要求,并经深圳市金融监管局核准后方可进行股权转让。光明沪农商村镇银行提醒法院,若参与竞拍的主体不符合相关资质,即便通过拍卖取得股权,也无法通过监管核准,无法办理股权转让手续。
第二大股东佳兆业成失信被执行人
查询发现,除此次拍卖外,深圳光明沪农商村镇银行第二大股东佳兆业商业集团所持该行10%股金及孳息同样在阿里司法拍卖平台上被公开拍卖,佳兆业也已成失信被执行人并被限制高消费。此次拍卖评估价及起拍价均为3417.80万元,将于5月11日起拍,目前已有271人围观,但尚未有人报名。

拍卖平台显示,此次拍卖处置法院为甘肃省兰州市中级人民法院,拍卖依据为(2025)甘01执恢38号之一执行裁定书。公开信息显示,疑似申请执行人为光大兴陇信托有限责任公司,执行标的高达9.63亿元,立案日期为2025年2月6日。

此外,根据深圳光明沪农商村镇银行股份有限公司提供的、由天健会计师事务所(特殊普通合伙)深圳分所于2024年10月12日出具的深圳光明沪农商村镇银行股份有限公司2024年01月01日至06月30日《审计报告》(报告文号:天健深审【2024】944号)及《深圳光明沪农商村镇银行股份有限公司股东名册》有关内容,截止2024年06月30日深圳光明沪农商村镇银行股份有限公司资产总额为17.43亿元,负债总额为14.11亿元,股东权益合计3.32亿元,股本总额2亿元中包括佳兆业商业集团有限公司持有的股本2000万元,佳兆业商业集团有限公司持股比例为10%,截止2024年06月30日,深圳光明沪农商村镇银行股份有限公司年度营业收入总额为0.37亿元,营业支出总额为0.22亿元,利润总额为0.15亿元,净利润0.12亿元。

(注:图片及素材来源于网络,版权归原作者所有。如有侵权请联系删除,电话:027-85721622 。)